Que Porsche es una de las marcas que está a la vanguardia de la innovación es indiscutible, y es por ello que de vez en cuando la firma germana nos sorprende con algún que otro elemento de seguridad que dará de qué hablar en los próximos meses. En esta ocasión, la Oficina de Patentes y Marcas de los Estados Unidos ha hecho público un nuevo modelo de airbag que hará un poco más seguros los descapotables del futuro.
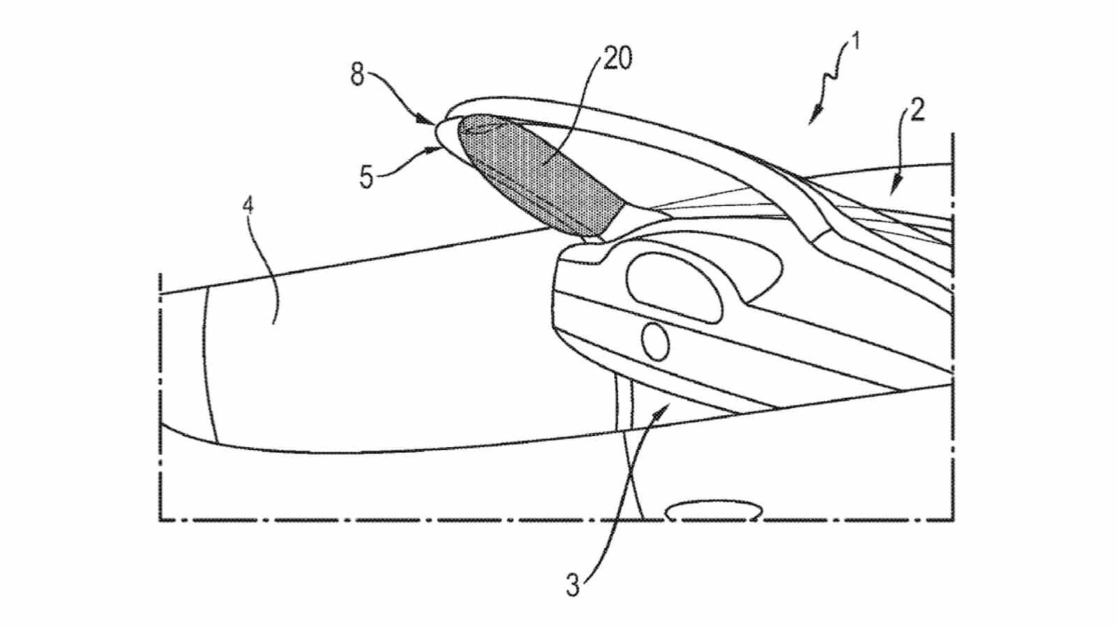
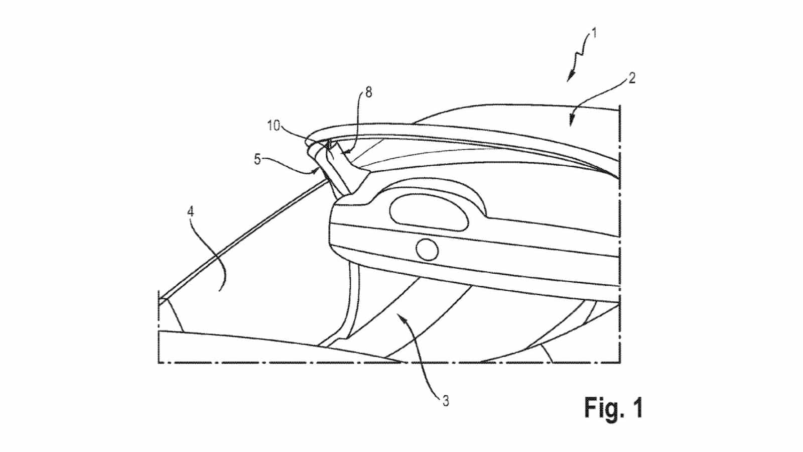
Concretamente, hablamos de un airbag localizado en el pilar A para los cabrio de Porsche, pues ya sabéis que a falta de un techo rígido, los modelos a cielo abierto no son tan seguros como sus homólogos de techo fijo. Lógicamente, aunque su aplicación inicial sea para modelos descapotables, este sistema también podría ofrecer una mayor seguridad en todo tipo de vehículos.

Para que os hagáis una idea, este nuevo airbag hace la función de una bolsa de aire de cortina, presente en los modelos convencionales pero no en los convertibles, algo especialmente peligroso en caso de volcar. El diagrama de la patente muestra cómo en caso de accidente el airbag se despliega a lo largo del pilar A, al tiempo que desde la marca aseguran que este elemento de seguridad ofrece grandes garantías cuando en un siniestro el conductor y el pasajero se mueven hacia delante y hacia el lateral.














