Sabéis que nos encantan las novedades en materia de mecánicas y si no son novedades, nos encanta que sean varias las marcas que se decidan a emplear estas nuevas técnicas. Honda ha presentado una interesante patente que podría revelar parte de los trabajos y novedades que empleará en la futura generación de mecánicas.
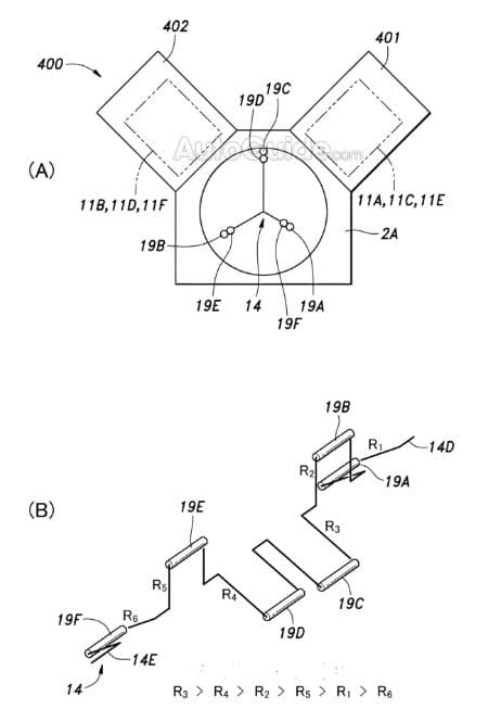
Al parecer, AutoGuide se ha encontrado en la base de datos de la oficina de patentes y marcas de Japón, con que Honda está trabajando en una solución que permite variar la carrera de cada cilindro en un motor, permitiendo que cada cilindro tenga una cilindrada diferente.
Por ejemplo, si se toma un motor Honda de 2.0 litros de cuatro cilindros actual (al igual que en el resto de las marcas) cada cilindro tiene 500 cc de cilindrada y puede variar la cilindrada de cuatro maneras diferentes, ya sea de 500cc, 1000cc, 1500cc o 2000cc dependiendo del número de cilindros.
La nueva tecnología podría ofrecer más de cuatro cilindradas de trabajo totales diferentes al mismo tiempo, con una diferencia intermedia entre cada una de ellas. Teniendo en cuenta el mismo motor de cuatro cilindros hablaríamos de un total de 15 combinaciones de trabajo a la vez.
Curiosamente, la patente describe cómo la tecnología trabajaría en motores en línea de dos, tres y cuatro cilindros, así como en un V6.
Presumiblemente, la adopción de esta técnica podría llegar a ayudar a aumentar la eficiencia del combustible.
Mediante la implementación de la tecnología de carrera variable combinada con desactivación de cilindros los ingenieros de Honda podrían adoptar las necesidades del vehículo al rendimiento del motor.
Fuente | AutoGuide






lo nunca visto…
Dani Garcia Perez
Bruno Viana Lopez
Carlos López Mancheño
Mas obligaciones para llevarlo a un taller HONDA
buff muy interesante!!
Honda siempre sorprendiendo con sus magníficos motores
Si aunque suene estraño son de los más fiables estos japoneses son la ostia
Y como piensan adaptar el contrapeso para las variaciones? Tecnología bimasa? O que?
A saber… estamos esperando más noticias pero el tema vibraciones y descompensaciones puede ser interesante… 😉
Estaré pendiente. Gracias por la información
Supongo que utilizando la tecnologia de los soportes de motor activos de Audi. Detectan las vibraciones y envian otra de misma longitud de onda pero inversa, anulandose entre ellas.
La verdad me parece algo ilógico no saben que hacer ya para no sacar al mercado las mecánicas limpias que recurren a estas parafolladas en fin
Rio Paredes Jesus mira como evoluciona lo asiático
A ver quien le mete mano a eso,va a tener muchas leyes no escritas
Es que lo asiático es lo más!!!si el soplanucas este al final va a tner razón ???
Matty Benjamin Miles perro cacha wn
El unico drama Es el tema de la estabilidad de combustion
Esta cuatico hermano es raro ver esto es algo nuevo nose si me explico pero podría ser un motor 1.6 y 2.0 a la vez con la finalidad de hacer energía mecánica en el vehículo
Vicente Zahonero Saez
No es nueva esta tecnología se usaba hace años
Darío Brea Rodríguez
Joder como discurren estos japos, mola
Enrique Marin Urendez
Siendo Honda seguro que es bueno y fiable
Todas las novedades requieren un periodo de «rodaje», tampoco nos atemos la manta a la cabeza con honda aunque haya quedado mas que patente su durabilidad hasta ahora.
Eso que este interesante invento si me gustaría verlo…
Guille Pg curioso cuanto menos…
Guaaaapisimo
Miguel Laab
Haber qe sale del invento…
Jaime Fernandez
Buena despedida a los motores de combustión
Estos japoneses son unos cracks
Ari Alonso
Eso ya lo inventó hace ya tiempo los Chinos. Es que lo que no inventen los Chinos….
Rio Paredes Jesus unos se desconectan,otros de distinta cilindrada, vaya tela
Otros desconectan ,aquí cada uno a lo suyo
Si varia la cilindrada con «carrera variable»..¿ Se quedará sin compresión ?
Supongo que variando el diagrama de distribución (con un tiempo de apertura de válvulas variable) se compensará
Dani Ruiz Fdez
Guillermo Azuara
Esto no vendra del mclaren de Alonso, no??
Pues va a ser que no va a llegar al McLaren, este 2017 tiene una pinta bastante mala.
Estos japos son la ostia…
Si que váis tarde ya que lo patentaron a principios del año pasado. Y una cosa es que varíe su cilindrada y otra distinta que varíe su carrera siendo más larga en expansión y más corta en comprensión que se lleva desarrollando desde hace muchos años.
Buenos motores los honda
Unos motores cojonudos!!!! Q se lo pregunten a Fernando Alonso!!!
Honda es HONDA!!! Me encanta el pensamiento del ala dorada…